{{ v.name }}
{{ v.cls }}类
{{ v.price }} ¥{{ v.price }}
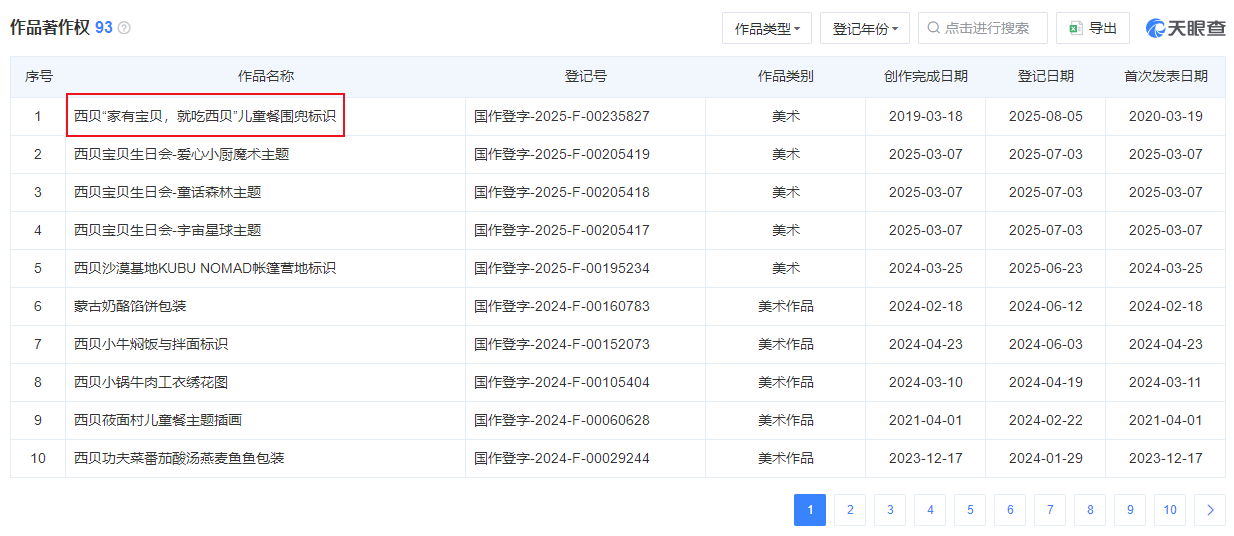
前阵子,内蒙古西贝餐饮集团有限公司深陷舆论风波。天眼查显示,该公司已登记西贝“家有宝贝,就吃西贝”儿童餐围兜标识美术作品著作权,今年6月19日提交了该标识的商标申请,目前处于等待实质审查阶段。


那么,在日常生活中,我们经常听到“著作权”和“商标权”这两个词,但很多人搞不清楚它们到底有什么不同。其实,它们的区别很简单,今天就带大家一次性搞懂!
一、保护对象不同
著作权保护的是“创作成果”,比如你看的这本小说、那张画、甚至我们发的朋友圈原创内容。只要是原创的作品,都自动受到著作权保护。
而商标权保护的是“商业标识”,比如我们熟知的苹果商标、麦当劳的M标志。它的作用是区分商品或服务的来源,避免消费者混淆。
二、产生方式不同
著作权是“自动产生”的。你写完一篇文章,画完一幅画,从完成的那一刻起,就自动享有著作权,不需要申请。
商标权则需要“申请注册”。不注册就没有专属权,别人也可以使用相同或相似的标志。只有经过国家知识产权局核准注册,你才拥有这个商标的专用权。
三、保护期限不同
著作权的保护期较长,一般是作者终生加上去世后50年。
商标权的保护期较短,注册成功后有效期为10年,但到期可以续展,而且续展次数没有限制。理论上,只要一直续展,商标可以永久受保护。
四、权利作用不同
著作权主要防止他人抄袭、复制你的作品,保护的是表达形式而不是思想内容。
商标权则是防止他同类或类似商品上使用相同或近似的商标,保护的是商业标识的识别性。
简单来说,著作权重“创作”,商标权重“识别”。下次当有人问你这两者区别时,你可以告诉他:写小说得到的是著作权,为小说起的书名如果想独家使用,就需要注册商标权!
最后,更多商标问题,欢迎咨询“华夏商标网”!
华夏商标网:大量高端商标许可授权,费用最低1块钱;专业商标交易平台,购买商标资金安全有保障;商标注册成功后再付费,委托业务不成功全部退费。
长按识别下方二维码,添加微信立即沟通
