{{ v.name }}
{{ v.cls }}类
{{ v.price }} ¥{{ v.price }}

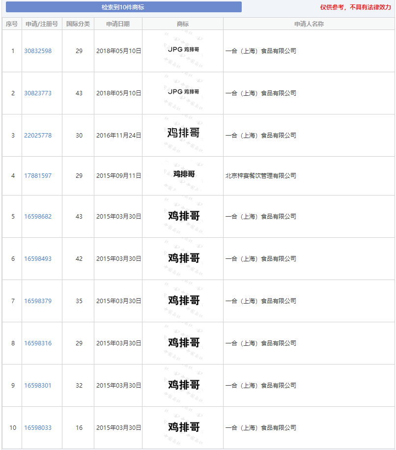
近日,江西景德镇的摊贩李俊永在网络上走红,被网友亲切地称为“鸡排哥”。他以亲切的服务、幽默的互动和6元鸡排卖出60元情绪价值而受到广泛关注。然而,经查询商标网,“鸡排哥”商标早已于2015年、2016年被一合(上海)食品有限公司申请注册,早在网红爆火前就已注册成功,不算抢注。
“鸡排哥”李俊永的成功,不仅仅是因为他的鸡排价格亲民,更重要的是他提供的情绪价值。在与顾客的互动中,他总是面带微笑,用幽默的语言和亲切的态度,让顾客在购买鸡排的同时,也能感受到快乐和温暖。这种情感上的满足,让顾客愿意为他“买单”,甚至愿意为他“代言”,在社交媒体上分享他的故事。
然而,值得注意的是,“鸡排哥”这个商标早在2015年和2016年就已经被一合(上海)食品有限公司申请注册,远在李俊永走红之前。这意味着,商标的注册并非是为了蹭热点或抢注,而是早有布局。这也提醒我们,在创业过程中,品牌保护是非常重要的环节。提前注册商标,可以避免日后因为商标纠纷而影响品牌的发展。

“鸡排哥”的走红,不仅仅是个人的成功,更是情绪经济的一个缩影。在现代社会,消费者不仅仅满足于物质需求,更注重情感上的满足。因此,创业者们在提供产品和服务的同时,也要注重情感价值的创造。只有这样,才能在激烈的市场竞争中脱颖而出。
总之,“鸡排哥”李俊永的成功,既有他个人的努力和才华,也有对情绪经济的深刻理解。同时,提前布局商标注册,也为他的品牌保护打下了坚实的基础。希望他的故事能够给其他创业者带来启示,在创业道路上越走越远。
最后,更多商标问题,欢迎咨询“华夏商标网”!
华夏商标网:大量高端商标许可授权,费用最低1块钱;专业商标交易平台,购买商标资金安全有保障;商标注册成功后再付费,委托业务不成功全部退费。
长按识别下方二维码,添加微信立即沟通
