千万粉丝网红“猴哥说车”离婚,商标已遭多方抢注
阅读:61
2025-10-09 14:49:23
作者:小华
近日,千万粉丝网红“猴哥说车”发布视频称,自己与何钰欣离婚。猴哥在社交平台上表示,两人已在9月26日办理离婚手续, “缘分尽了,和平离婚”“生活不是剧本,总会有一些意料之外的分歧”。
猴哥说车账号目前粉丝数量超过3400万,是汽车类目头部自媒体。据媒体报道,2021年,猴哥说车官宣与何钰欣的恋情,并于2022年2月10日宣布结婚。
网红们的婚姻生活总是引发关注。网红官宣离婚,网友在评论区纷纷留言表示吃惊,“真的有点吃惊,感觉挺般配的,怎么说离就离”、“全网最看好的一对,怎么说散就散了”。
婚姻不是剧本,很难按照预想的剧情上演,其中的磕磕绊绊很难为外人道,希望他们能好聚好散,各自安好。
不过,网红们的婚姻结束,除了感情上的纠葛,还要注意处理好商业上的联系,特别是像“猴哥说车”这样的账号,已经成为一个大IP,其中牵涉到的商业利益不少,需要做好分割,避免后续产生纠纷。另外,作为网红,还得面对粉丝的关注和议论,处理起来比普通人更难。
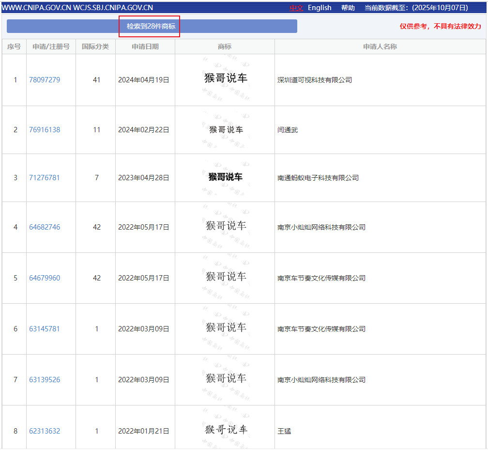
商标局官网显示,“猴哥说车”商标已被多家公司及自然人申请注册,这些商标的申请时间早至2017年,晚至2024年4月,其中不少已注册成功。国际分类包括广告销售、教育娱乐、服装鞋帽等,当前商标状态多为“已注册”、“等待实质审查”等。
网红IP大火后,往往会发生商标遭抢注的现象,网红们要提高知识产权保护意识,在IP火起来后,应尽快申请注册商标,避免遭遇恶意抢注,进而引发后续纠纷。
最后,更多商标问题,欢迎咨询“华夏商标网”!
华夏商标网:大量高端商标许可授权,费用最低1块钱;专业商标交易平台,购买商标资金安全有保障;商标注册成功后再付费,委托业务不成功全部退费。
长按识别下方二维码,添加微信立即沟通
