{{ v.name }}
{{ v.cls }}类
{{ v.price }} ¥{{ v.price }}
天眼查APP近日披露的信息显示,明星王一博不仅活跃在演艺圈,在商业领域也颇有建树。他名下关联的3家存续企业,涉及科技、传媒等多个领域,展现出不俗的商业布局眼光。

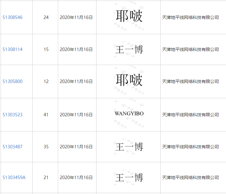
更值得关注的是,王一博持股70%的天津地平线网络科技有限公司已经申请注册了多枚“王一博”“耶啵”“WANGYIBO”商标,国际分类覆盖运输工具、灯具空调、乐器等多元化品类,且部分商标已经注册成功。

这波操作看似简单,实则深谙商标保护之道。在商业社会,商标就是品牌的“身份证”,是企业重要的无形资产。对于公众人物而言,将自己的姓名注册为商标,更是一种前瞻性的商业保护策略。
试想,若不及时注册,一旦他人抢注并用于不良产品或服务,不仅会造成经济纠纷,更可能损害明星个人形象。王一博此举既保护了自己的姓名权,也为未来可能的商业拓展预留了空间。
从运输工具到灯具空调,这些看似与演艺事业无关的商标类别,实则展现了明星品牌价值变现的多种可能性。在注意力经济时代,名人姓名本身就是极具商业价值的IP。
王一博的商标布局给公众人物提了个醒:在专注主业的同时,也要具备知识产权保护意识。及时将个人品牌商标化,既是防御性保护,也是战略性投资。
随着越来越多名人加入商标注册与保护的行列,我们看到了一个更加规范、更具知识产权意识的演艺商业环境正在形成。这既是市场的进步,也是法治意识的提升。
最后,更多商标问题,欢迎咨询“华夏商标网”!
华夏商标网:大量高端商标许可授权,费用最低1块钱;专业商标交易平台,购买商标资金安全有保障;商标注册成功后再付费,委托业务不成功全部退费。
长按识别下方二维码,添加微信立即沟通
